از دوران باستان تا به امروز، تلاش دائمی برای تولید توان موردنیاز بشر وجود داشتهاست. از آغاز ظهور انسان تا سال 1700 میلادی، تمام نیروی محرکه لازم توسط توان بدنی انسان یا حیوانات تامین میشد. پس از آن، رشد سریع فناوری شامل توربینهای هیدرولیک، موتورهای بخار و توربینهای بخار و گاز به اوج خود رسید و به فناوری موتور توربوفن روزآمد که نشاندهنده پیشرفتهترین مهندسی توربوماشینهای امروزی است، ختم شد. در هر مرحله توسعه فنی، بررسی تاریخچه و علل زمینهای ایجاد فناوری، از اهمیت حیاتی برخوردار است.
در طراحی یک توربوماشین جدید و پیچیده مانند توربین گاز یا کمپرسور، طراحی بینقص آن برای اولینبار همیشه ممکن یا واقعبینانه نیست. در تاریخچه توسعه توربوماشینها چندین نمونه از مشکلات وجود داشت که باید با صرف هزینههای مالی فراوان حل میشدند.
در عصر نوین توسعه فناوری، اغلب این باور وجود دارد که فناوری و دانش بهصورت تصاعدی در حال افزایش است. با این حال، باید در یک مقیاس زمانی تاریخی، دوره بسیار کوچکی از توسعه انسانی را همانطور که در جدول یک نشان داده شده، بررسی کرد. این جدول زمان سپریشده از رویداد بیگ بنگ تا امروز را نشان میدهد و این واقعیت وجود دارد که در مقیاس کیهانی، دانش ما هنوز در مراحل اولیه است.
جدول شماره یک
این نوشتار، یک روند تاریخی از پیشینه فناوری و انگیزههایی در جهت پیشرفتهایی که منجر به توسعه توربوماشینهای روزآمد میشود، ارائه میکند. تاکید قابلتوجهی در این نوشتار بر روی فناوری و تکامل توربین گاز و کار اولیه موتور جت در بریتانیا انجام شدهاست:
- توربینهای گاز و موتورهای توربوجت روزآمد امروزی، نشاندهنده پیشرفتهترین طراحی و پیچیدهترین توربوماشینهای موجود هستند. بسیاری از پیشرفتهای فناوری و روشهای طراحی در حوزه توربینهای گاز در کاربردهای کمپرسور صنعتی و توربینهای بخار نیز وجود داشتهاست.
- توسعه توربینهای گاز و متعاقب آن موتورهای توربوجت، نیازمند پیشرفتهای پیشین در زمینههای توربینهای هیدرولیک، ترمودینامیک، توربینهای بخار، کمپرسورها، آیرودینامیک و روتوردینامیک بود. از این رو، در توربینهای گاز، میتوان بر روی این موارد پیشین نیز تمرکز کرد.
تغییرات و توسعه فناوری
فناوری را میتوان به فناوری عادی و فناوری هنجارشکن دستهبندی کرد.
توسعه فناوری عادی
شایعترین تغییر، تغییرات فناوری عادی (تدریجی) بوده که شامل نوآوریهایی است که کارایی فناوری را بهبود میبخشد. پیشرفتهای زیادی در عرصه توربوماشینها از این قبیل بودهاست.
ویژگیهای چنین تغییرات عادی عبارتند از:
- اصلاحات مهندسی در نتیجه آزمایش و تجربه دقیق
- بهینهسازی فرآیند تولید
- توسعه متالورژی جدید (قویتر، دمای بالاتر)
- توسعه پیکربندیهای جدید (تغییرات و بهینهسازی طرحهای موجود)
بهعنوان نمونهای از تغییرات عادی، میتوان به توسعه توان موتورهای هواپیماهای رفت و برگشتی در بازه زمانی 1925 تا 1945 اشاره کرد که در آن توان ده برابر شد و از کمتر از 350 اسب بخار به بیش از 3500 اسب بخار رسید. این توسعه با هزینه و تلاش زیادی همراه بود، اما همچنان بهعنوان فناوری عادی در نظر گرفته میشود، به این دلیل که هیچ تغییری در مرحلهای رخ ندادهاست. معرفی ترمز پرونی که امکان آزمایش علمی ماشینهای هیدرولیک و در نتیجه بهبود کارایی آنها را فراهم میآورد، گام مهمی در توسعه فناوری بود، اما همچنین بهعنوان یک تغییر فناوری عادی در نظر گرفته میشد.
توسعه فناورانه هنجارشکن
از سوی دیگر، تغییر رادیکال یا انقلابی شامل یک جهش پلهای در فناوری است. یک مثال کلاسیک از چنین انقلابی، معرفی موتورهای جت است که در عرض چند سال موتورهای هواپیماهای رفت و برگشتی را اساسا منسوخ کرد.
برخی از عوامل رایج در انقلابهای فناوری وجود دارد:
- آنها در خارج از بخشهای تحت تاثیر رخ میدهند و اغلب توسط افرادی ایجاد میشوند که در دایره فعالان کنونی حوزه کاری قرار ندارند. بهعنوان مثال، توسعه توربوجت در بریتانیا و آلمان توسط هیچ تولیدکننده موتور بزرگی آغاز نشده، بلکه توسط مجموعههای دیگر آغاز شدهاست.
- آنها در ابتدا با مخالفت یا بیاعتنایی از سوی دستگاه حاکم مواجه میشوند، اما پس از اثبات و تثبیت مفهوم، اغلب آن را با اشتیاق فراوان میپذیرند و کنترل تحولات جاری را در دست میگیرند و نوآور را کنار میزنند.
- شرکتهایی که به مقاومت در برابر تغییر ادامه میدهند، از بین میروند. نمونهای از این موارد شرکت کورتیس-رایت است که تا دهه ۱۹۵۰ در برابر فناوری موتور جت مقاومت کرد و در نتیجه از بزرگترین شرکت موتورهای هوایی به یک پیمانکار فرعی تقلیل یافت و در نهایت از کسبوکار موتورهای هوایی خارج شد.
- پس از تثبیت فناوری جدید، کنترل اغلب از دست نوآور به شرکتهای سنتیتر منتقل میشود. بهعنوان مثال، شرکت پاور جتز متعلق به سر فرانک ویتل از ادامه کار بر روی موتورهای توربین گاز جدید منع شد و از آن خواسته شد که بر تحقیقات متمرکز شود.
- مبتکران اغلب (اما نه همیشه) از روندهای تاریخی و تلاشهای قبلی که در زمینه اختراعات آنها انجام شدهاند، آگاهی دارند.
- همیشه یک پویایی اساسی وجود دارد که اختراع بنیادی را مجبور میکند، به این معنا که حداقل در ذهن نوآور، یک نیاز فناورانه واضح برای آن اختراع وجود دارد. بهعنوان مثال، ویتل و فون اوهاین هر دو به وضوح نیاز به جایگزینی موتور را در تلاش برای دستیابی به پرواز با سرعت بالا میدیدند.
ما شاهد اظهاراتی از این قبیل خواهیم بود که توسط دانشمندان و مهندسان برجسته در مسیر تکامل توسعه توربوماشینها بیان شدهاست. بهعنوان مثال، مخالفت با سر فرانک ویتل، زمانی که او مفهوم توربوجت را پیشنهاد کرد، توسعه آن را برای سالها به تعویق انداخت.
این گمان وجود دارد که اگر دولت بریتانیا از ویتل حمایت میکرد، توازن قدرت هوایی در آغاز جنگ جهانی دوم ممکن بود بطور چشمگیری متفاوت باشد و احتمالا مسیر جنگ را تحت تاثیر قرار میداد. علاوه بر چالشهایی از این دست، ویتل با چالشهای فنی قابلتوجهی نیز از جمله توسعه نسبت فشار کمپرسور گریز از مرکز از ۲.۵ به ۴، افزایش بازدهی کمپرسور از ۶۵ به ۸۰ درصد و طراحی برای میزان احتراق که ۱۰ برابر سطح پیشرفته فناوری بویلرهای بخار در آن زمان بوده، روبرو بود.
یکی دیگر از عوامل یک انقلاب فناورانه این است که گروه یا فردی که توسعه جدیدی را ایجاد میکنند، باید مهارت لازم برای معرفی و بازاریابی آن را داشته باشند. یک حکایت جالب به فارادی مربوط میشود که قوانین القای الکترومغناطیسی را کشف کرد و سپس به توسعه نظریه خطوط نیرو و میدانهای نیرو پرداخت که در آن زمان کاملا بیگانه با شیوههای فکری غالب بود.
پیشینههای تاریخی در رابطه با توسعه توربوماشینها
یکی از نخستین توسعههای توربوماشینها به هیرو اسکندرانی نسبت داده میشود که حدود سال ۱۰۰ قبل از میلاد (برخی منابع این زمان را حدود سال ۶۲ میلادی میدانند) در کتاب خود با عنوان نیوماتیک دستگاهی به نام آئولیپایل را توصیف کرد که در شکل ۱ نشان داده شده و با استفاده از اصل واکنش میتوانست بچرخد. یک کاسه بهعنوان منبع آب و بویلر بخار عمل میکرد.
شکل شماره 1
دو لوله توخالی از بویلر بخار خارج شده و وارد کرهای میشدند که دو جت داشت و باعث چرخش کره میشد. این تنها یکی از اختراعات نوآورانه متعددی بود که به هیرو نسبت داده شدهاست. رومیها نیز حدود سال ۷۰ قبل از میلاد چرخهای پارویی از نوع ضربه خالص را برای آسیابکردن دانهها معرفی کردند.
حدود سال ۱۵۰۰ میلادی، لئوناردو داوینچی دستگاهی به نام چرخدنده دودکش را توصیف کرد که در شکل ۲ نشان داده شدهاست. در این دستگاه، هوای گرم از روی تیغههایی شبیه به پره عبور میکرد که بهعنوان یک توربین عمل کرده و با استفاده از چرخدندههای مخروطی، یک محور را میچرخاندند.
شکل شماره 2
در سال ۱۶۸۷، آیزاک نیوتن قوانین حرکت خود را ارائه کرد که اساس توسعه انواع توربوماشینها را تشکیل داد. بعدها، یک واگن بخار که از یک جت واکنشی برای حرکت رو به جلو استفاده میکرد، پیشنهاد شد و بطور غیررسمی کالسکه بخار نیوتن نام گرفت. این دستگاه که در شکل 3 نشان داده شده، یک کالسکه چهارچرخ بود که یک بویلر بخاری کروی روی آتشی نصب شده بود و نازل آن برای تولید یک جت واکنشی طراحی شده بود.
شکل شماره 3
تا سال ۱۶۹۰، مکانیکها توانایی ساخت سیلندرها، میلهها و صفحات را به دست آوردند و این امر امکان ساخت موتورهای حرارتی را فراهم کرد. در همان سال، دنیس پاپن آرایشی از سیلندر و پیستون ایجاد کرد که یک موتور حرارتی ابتدایی محسوب میشد.
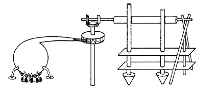
در سال 1791، جان باربر در انگلستان طرحی را با استفاده از چرخه ترمودینامیکی توربین گاز روزآمد به ثبت رساند. این توربین به کمپرسوری از نوع رفت و برگشتی مجهز بود که با زنجیر حرکت میکرد و دارای محفظه احتراق و توربین بود. باربر استفاده از زغال چوب، گاز یا سوختهای مناسب دیگر را برای تولید گاز قابل اشتعال پیشنهاد کرد. گاز تولیدشده وارد یک مخزن مشترک و سپس به محفظه احتراق میشد، جایی که با هوای فشردهشده از کمپرسور مخلوط شده و مشتعل میگردید.
گازهای داغ حاصل به پرههای یک چرخ توربین برخورد میکردند. برای جلوگیری از داغشدن بیش از حد قطعات توربین، تدابیری برای خنککردن گاز به وسیله تزریق آب در نظر گرفته شده بود. هیچ مدرکی مبنی بر ساخت این موتور وجود ندارد، اما در هر صورت، بعید است که این موتور به دلیل نیاز زیاد کمپرسور رفت و برگشتی به توان، به خودکفایی میرسید. نقشه ثبت اختراع دستگاه باربر در شکل 4 نشان داده شدهاست.
شکل شماره 4
توسعه توربوماشینهای هیدرولیکی
تاریخچه هیدرولیک از اهمیت بنیادی در مطالعه توسعه توربوماشینها برخوردار است، زیرا تئوری هیدرولیک و هیدرودینامیک پایه و اساس مفاهیم طراحی مورد استفاده در توربینهای بخار را تشکیل دادند. اصولی مانند به حداقلرساندن اتلاف برخورد و مفاهیم نسبت سرعت U/C بهطور شهودی که توسط برخی از طراحان اولیه توربینهای هیدرولیکی استخراج شدند.
درحالیکه چرخهای آبی از دوران باستان مورد استفاده قرار میگرفتند، در قرن هفدهم برخی دانشهای تجربی در رابطه با پدیدههای هیدرولیکی بهدست آمد. در یکی از منابع منتشرشده، نرخ تخلیه از یک روزنه در مخزن متناسب با سطح سیال در نظر گرفته شده بود. همچنین در آن زمان مشخص شده بود که نیروی اعمالشده توسط یک جت متناسب با مجذور سرعت آن است.
تحولات در دهه 1700
آزمایشهای مهمی توسط جان اسمیتون در انگلستان انجام شد که نتایج حاصل از آن را در سال 1759 منتشر کرد. در این آزمایشها، از دستگاههایی در مقیاس کوچک و با دقت بالا استفاده شد که امکان اندازهگیری دقیق را فراهم میکرد. با این حال، کار او تحتالشعاع کارهای نظری و دقیق فرانسویها از جمله کار برنولی و لئونارد اویلر قرار گرفت.
در سال 1750، اویلر اطلاعاتی را ارائه کرد که حاوی تجزیه و تحلیل هیدرولیکی و معادلات برای توربینهای هیدرولیکی بود. در معادله معروف اویلر در مورد توربینهای واکنشی، گشتاور با تغییر لحظه حرکت سیال در حین عبور از بخش دوار برابر میشود. در سال 1767، بوردا تحلیل خود را از چرخهای آب ایدهآل ارائه کرد که در آن، آب باید بدون ضربه وارد چرخ شده و بدون هیچگونه سرعت نسبی از آن خارج شود. بوردا همچنین مفهوم لولههای جریان را معرفی کرد.
توسعه در دهه 1800 – کار پیشگامانه فورنیهران
در سال 1826، جایزهای به مبلغ 6 هزار فرانک برای طراحی چرخ آب پیشنهاد شد، به این شرط که بتواند بدون کاهش بازدهی در زیر آب کار کند. یکی از شرکتکنندگان این رقابت کلود بردین بود که اولین بار از واژه توربین استفاده کرد که از کلمه لاتین توربو (چرخش) گرفته شدهاست. برنده این رقابت بنوآ فورنیهران (۱۸۰۲ تا ۱۸۹۷) بود که طراحی او در شکل 5 نشان داده شدهاست.
شکل شماره 5
این طرح یک توربین با جریان شعاعی به بیرون با پرههای هدایتکننده ورودی و پرههای توربین بود که با دقت ساخته شده بودند تا از ضربه جلوگیری کرده و جریان خروجی بدون سرعت نسبی ایجاد کنند. چرخ ثابت داخلی دارای پرههای هدایتکننده ورودی منحنی بود که آب را به سمت چرخ بیرونی یا رانر هدایت میکرد. بازده این توربین با جریان شعاعی به بیرون حدود 80 تا 85 درصد بود. این طرح متعاقبا اصلاح شد و کاربرد قابلتوجهی در اروپا پیدا کرد.
بنوآ فورنیهران اولین کسی بود که یک توربین هیدرولیکی روزآمد با راندمان بالا ساخت. یکی دیگر از دستاوردهای مهم فورنیهران، روش او برای آزمایش دقیق توربینهای خود با استفاده از یک ترمز پرونی (دینامومتر) بود. او در سال ۱۸۲۴ کار خود را بر روی توربینهای هیدرولیکی آغاز کرد، اما نتایج خود را تا زمانی که طراحی برنده جایزهاش را در سال ۱۸۲۷ ارائه داد، اعلام نکرد.
ترمز پرونی ابزاری بسیار مهم در تاریخ توسعه توربوماشینها بود، زیرا امکان آزمایشهای دقیق و اصلاح طراحی را فراهم کرد که منجر به دستیابی به بازدههای بالاتر شد. علاوه بر آن، این امکان را فراهم کرد که توسعه به روشی علمی پیش برود و ارزیابیهای کمی دقیقی از طراحیهای مختلف انجام شود. در اروپا، طرحهای دیگری از توربینهای هیدرولیکی اجرا شدند که از جمله آنها میتوان به طراحی واکنشی با جریان محوری توسط جونوال اشاره کرد که در سال ۱۸۴۱ معرفی شد. جونوال اولین کسی بود که استفاده از لولههای مکش را معرفی کرد.
در آمریکا، جیمز بی. فرانسیس (طراح توربین فرانسیس) و یوریا اِی بویدن بهخاطر طراحی توربینهای هیدرولیکی شناخته شدهاند. از وظایف فرانسیس بهینهسازی ظرفیت تولید توان در تاسیسات لوول بود. این کار منجر به بررسی و مطالعه جامع جریان هیدرولیکی و توربینهای آبی شد که نتایج آن بهعنوان آزمایشهای هیدرولیکی لوول شناخته شد. بعدها، بویدن به فرانسیس پیوست و طرح توربین خود را ارائه داد که هر دو با همکاری یکدیگر آن را آزمایش و بهبود بخشیدند.
توربین بویدن به بازدهی ۷۵ تا ۸۰ درصد دست یافت. فرانسیس به مطالعات خود برای به حداقلرساندن اتلاف ادامه داد و در نهایت یک توربین جریان داخلی ظریف طراحی کرد که امروزه بهعنوان توربین فرانسیس شناخته میشود و بازدهی ۸۰ درصد را ارائه میدهد. یک توربین از نوع فرانسیس در شکل 6 نشان داده شدهاست.
شکل شماره 6
توسعه توربین ضربهای پلتون
درحالیکه توسعه چرخ ضربهای پلتون با نام لستر پلتون گره خورده، در واقع این ایده احتمالا توسط چند نفر دیگر که در همان زمان ایدههای مشابهی داشتند، بهطور مشترک اختراع شد. چرخ پلتون یک چرخ کاملا ضربهای است و با استفاده از تبدیل کامل انرژی هد به انرژی جنبشی در یک نازل کارآمد عمل میکند. جت پرسرعت حاصل به تیغههای که در اطراف لبه چرخ نصب شدهاند، هدایت میشود. در یک حالت ایدهآل، آب باید بدون هیچ سرعت نسبی خارج شود و سرعت محیطی توربین باید حدود ۵۰ درصد سرعت برش با فشار آب باشد. پیش از معرفی چرخهای پلتون، چرخهای غیربازده متعددی وجود داشتند که به نام چرخهای هاردی-گاردی شناخته میشدند.
لستر پلتون در سال ۱۸۷۸ شروع به انجام آزمایشهایی روی چرخهای آبی کرد و آزمایشهای هیدرولیکی لوول فرانسیس را مطالعه کرده بود. پلتون آزمایشهای خود را با استفاده از یک ترمز پرونی و یک سرریز نوع فرانسیس انجام داد. او ادعا میکند که بیش از ۳۰ تا ۴۰ طرح تیغه مختلف را آزمایش کرده و در نهایت متوجه شد که یک تیغه منحنی که جت آب بهجای مرکز (که در آن زمان روش معمول بود) به سمت کناری آن برخورد کند، افزایش چشمگیری در توان و بازدهی ایجاد میکند.
با این حال، این روش باعث ایجاد یک نیروی محوری بر روی یاتاقان میشد. پس از آزمایش با تیغههای متناوب در دو سمت، پلتون متوجه شد که میتوان تیغهای را طراحی کرد که جریان آب را به دو بخش تقسیم کند. او در سال ۱۸۸۰ چرخ خود را به ثبت رساند.
امروزه طراحی چرخ پلتون با تیغههای بیضوی هیدرودینامیکی صحیح میتواند بازدهی حدود ۹۰ درصد را ارائه دهد و بطور گسترده در صنعت مورداستفاده قرار میگیرد. یک نمونه اولیه از چرخ پلتون در شکل 7 نشان داده شدهاست. در این چرخ، دو دیسک میتوانند به صورت محوری روی محور حرکت کنند و معمولا توسط فنرها در کنار یکدیگر نگه داشته میشوند. با افزایش سرعت، یک مکانیزم وزنه گریز از مرکز باعث میشد که دیسکها از هم جدا شوند و در نتیجه برش با فشار آب به سمت خروجی انتهایی هدایت شود. این مکانیزم امکان کنترل دقیق سرعت را فراهم میکرد.
شکل شماره7
توسعه توربینهای هیدرولیکی در دهه 1900
با افزایش اندازه توربینهای هیدرولیکی و گسترش استفاده از آنها در نیروگاههای بزرگ، نیاز به بازدهی بالا، قابلیتاطمینان و کنترل بهتر سرعت ضروری شد. چندین رویکرد مختلف مانند استفاده از چندین چرخ واکنشی بر روی یک محور مورد آزمایش قرار گرفتند، اما پیچیدگی و مشکلات قابلیتاطمینان حاصل از این طرحها باعث شد که طراحیها به توربینهای واکنشی بزرگ و ساده با سرعت پایین بازگردند.
دو راهحل برای توربینهای پرسرعت یکی توسط کاپلان در چکسلواکی و دیگری توسط نگلر در آمریکا پیشنهاد شد. دکتر ویکتور کاپلان در سال ۱۹۱۲ یک توربین پیشرفته طراحی کرد که از روتور پروانهایشکل استفاده میکرد و زاویه پرههای آن قابلتنظیم بود. این طراحی میتوانست بطور کارآمد در بارهای جزئی عمل کند و کنترل دقیق سرعت را در محدوده بار خود حفظ کند.
کاپلان رویکردی را ابداع کرد که کنترل دریچههای ویکر را با زاویه پروانه پیوند میداد. اگرچه کاپلان در سال ۱۹۱۳ برای دریافت حق ثبت اختراع در اروپا و در سال ۱۹۱۴ برای آمریکا اقدام کرد، اما دوره جنگ جهانی اول ساخت تجاری اولین توربین را تا سال ۱۹۲۰ به تاخیر انداخت. پس از معرفی، این طراحی بسیار موفق شد و تا به امروز نیز مورد استفاده قرار میگیرد.
در آمریکا، فارست نگلر تلاش کرد تا نیروهای اصطکاکی را که عامل محدودکننده سرعت بودند، کاهش دهد. برای کاهش سطح مرطوب توربین، او نوار چرخشی اطراف روتورها را حذف کرده و روتور را به صورت شعاعی طراحی کرد که این منجر به طراحی جریان محوری شد. اولین توربین تجاری نگلر در سال ۱۹۱۶ نصب شد.
توسعه توربوپمپ
ایده پمپ گریز از مرکز برای اولین بار توسط دنیس پاپن در اواخر قرن هفدهم مطرح شد. او در سال ۱۷۰۵ توضیحات مفصلی درباره پمپ گریز از مرکز و دمنده منتشر کرد. پاپن بهعنوان یک دانشمند شناخته شده بود و به دلیل معرفی دیگ پاپن (دیگ تحت فشار) به انجمن سلطنتی مشهور است. در نیمه اول قرن ۱۹، چندین پمپ با طراحیهای تجربی ارائه شدند. در سال ۱۸۴۶، جانستون در آمریکا و گوین در انگلستان طراحیهای چندمرحلهای را پیشنهاد کردند. اکثر پمپهای اولیه فاقد دیفیوزر بودند و برای ارتفاعهای کم (۴ تا ۱۵ فوت) مورداستفاده قرار میگرفتند. بازدهی آنها نیز بین ۴۰ تا ۶۰ درصد بود.
اولین پمپ توربینی با استفاده از دیفیوزر توسط آزبورن رینولدز اختراع شد که بعدها به دلیل فرمولهکردن قانون شباهت جریان هیدرودینامیکی و معرفی عدد معروف رینولدز مشهور شد. در سال ۱۸۷۵، مجموعهای از توربینها و پمپها شامل ایده پمپهای چندمرحلهای و استفاده از پرههای هدایتکننده ورودی با مجاری همگرا-واگرا را ثبت اختراع کرد.
این پتنتها برای سیالات مایع یا گازی قابل استفاده بودند. بهعنوان نتیجه این پتنت، آزبورن رینولدز یک توربین بخار محوری آزمایشی کوچک ساخت و آن را با سرعت 12 هزار دور در دقیقه بکار انداخت. با این حال، تلفات نشتی در فضای بین نوک پرهها و پوسته بسیار بالا بود و رینولدز نتیجه گرفت که این دستگاه هرگز نمیتواند با موتورهای بخار موجود رقابت کند.
از تناقضات جالب این است که رینولدز، دانشمندی که در عرض ۱۰ سال قوانین شباهت هیدرودینامیکی را فرموله کرد، متوجه نشد که فاصلهها در توربینهای بزرگتر بطور نسبی کمتر میشوند و بنابراین تلفات نشتی نیز کاهش خواهد یافت. رینولدز بعدها در سال ۱۸۸۵ به صورت ریاضی نازل همگرا-واگرا را توصیف کرد که جداگانه توسط دو لاوال نیز کشف شده بود.
اولین پمپ آب توربینی رینولدز در سال ۱۸۸۷ توسط ماثر و پلات ساخته شد. این طراحی بعدها توسط برادران سولزر ساخته شد که تا آن زمان پمپهای بدون دیفیوزر تولید میکردند. در سال ۱۹۰۰، سولزر با ماثر و پلات وارد یک توافقنامه ثبت اختراع شد. نتیجه این همکاری، ورود چندین شرکت دیگر از جمله شرکت راتو و شرکت بایرون جکسون در کالیفرنیا به بازار بود. در اوایل دهه ۱۹۰۰، شرکتهایی نظیر دو لاوال استیم توربین، آلیس چالمرز و ورثینگتون نیز تولید پمپهای توربینی چندمرحلهای را آغاز کردند.
توسعه توربین بخار
اولین توربین بخار توسط هروی اسکندریه طراحی شد که بر اساس اصل واکنش عمل میکرد. جیمز وات نیز به ایده یک توربین بخار واکنشی فکر کرد، اما معتقد بود که سرعت چرخش بسیار بالا خواهد بود و از نظر عملی قابلاستفاده نیست. در آمریکا، ویلیام ایوری چندین توربین واکنشی برای استفاده در کارخانههای چوببری ساخت. با این حال، طراحیهای او پر سروصدا و خطرناک بودند. چندین اختراع ثبتشده برای توربین بخار وجود داشت، اما اکثر آنها به دلیل کمبود دانش در زمینه مواد و ترمودینامیک بخار ناموفق بودند.
در سال 1853 تورنیر در فرانسه یک توربین واکنش چند مرحلهای را پیشنهاد کرد. تورنیر تشخیص داد که یک طراحی تک مرحلهای باید با سرعت بسیار بالایی کار کند و در نتیجه گسترش تدریجی بخار را در چندین مرحله پیشنهاد کرد. ایدههای او عملی نبود، با این حال، بسیار موردتوجه قرار گرفتند. در طول این مدت، تفکر رایج این بود که موتورهای بخار رفت و برگشتی بدون مشکل در سرعت چرخش بالا میتوانند کار را بهتر انجام دهند.
چهار نفر شامل کارل گوستاو دو لاوال، سر چارلز پارسونز، اگوست راتو و چارلز کرتیس را میتوان بهعنوان پیشگامان فناوری توربین بخار در نظر گرفت.
توسعه توربین بخار گوستاو دی لاوال
کارل گوستاو دی لاوال متولد سال ۱۸۴۵، از دانشگاه فنی اوپسالا در استکهلم در سال ۱۸۶۶ فارغالتحصیل شد. او در حالی که در آلمان در کارخانه آهنسازی کلوستر کار میکرد، آزمایشهایی را با ماشینآلات و دمندههای گریز از مرکز برای مبدلهای بسمر آغاز کرد. وی یک سری آزمایشهای نوآورانه موسوم به آزمایشهای عصا انجام داد که امکان درک رفتار دینامیکی محورهای با سرعت بالا را داد. این تجربه به طراحی یک جداکننده با سرعت بالا و گریز از مرکز موفق انجامید. در آن زمان، برای تامین نیرو، از موتورهای رفتوبرگشتی استفاده میشد و افزایش سرعت برای جداکننده (که به ۷ هزار تا ۹ هزار دور در دقیقه نیاز داشت) از طریق تسمههای انتقالی نامطمئن تامین میشد.
در سال ۱۸۷۰، کارل گوستاو دو لاوال که در مورد جریان از طریق نازلها تحقیق کرده بود، به یک توربین بخار روی آورد تا دستگاه جداکننده خود را نیرو بخشد. در سال ۱۸۸۷، او از یک نازل همگرا-واگرا برای تبدیل کارآمد فشار بخار به یک جت با سرعت بالا استفاده کرد.
نتیجه این کار، یک توربین ضربهای کارآمد بود که با سرعت 30 هزار دور در دقیقه کار میکرد و بازدهی آن قابلمقایسه با موتورهای بخار در آن زمان بود. سرعت نوک پرهها به حدود 1200 فوت بر ثانیه و سرعت خروجی نازلها بین ۳۰۰۰ تا ۵۰۰۰ فوت بر ثانیه میرسید. نمونه ولوو و نازل استفادهشده در توربین دو لاوال در شکل ۱۰، جزئیات مربوط به چرخ توربین و نازل در شکل ۱۱، نمونهای از توربوآلترناتور ۱۵۰ کیلوواتی در شکل ۱۲، برشی از توربین بخار در شکل ۱۳، جزئیات یک یاتاقان استفادهشده در طراحی در شکل ۱۴ و تصویر یک توربین و چرخدنده دو لاوال در شکل ۱۵ نشان داده شدهاست.
شکل شماره 8
شکل شماره 9
شکل شماره 10
شکل شماره 11
شکل شماره 12
شکل شماره 13
در سال ۱۸۸۹، کارل گوستاو دو لاوال یک توربین ضربهای ترکیبی دو مرحلهای با توجه به سرعت معرفی کرد که امکان دستیابی به سرعتهای پایینتر و بازدهی بهتر را فراهم میکرد. این توربینها برای کاربردهایی نظیر پمپها، دمندهها و تولید نیروی الکتریکی مورد استفاده قرار گرفتند. دو لاوال مسئول توسعه و بهبود چرخدندههای مارپیچ دوگانه بود که برای کاهش سرعت بالای توربینهای او ضروری بودند.
توسعه توربین بخار چارلز پارسونز
چارلز پارسونز در سال 1854، نه سال پس از گوستاو دی لاوال متولد شد. او در خانوادهای برجسته در انگلستان به دنیا آمد و پدرش رئیس انجمن سلطنتی بود. تربیت پارسونز در محیطی علمی و آکادمیک، زمینهساز نوآوریهای او در آینده شد. چارلز پارسونز در طی سالهای 1873 تا 1877 در دانشگاه کمبریج حضور یافت و در آنجا به احتمال زیاد با پیشزمینهای در ریاضیات، علوم، ترمودینامیک و مهندسی مکانیک آشنا شد.
در سال ۱۸۸۴، پارسونز به شرکت کلارک چاپمن پیوست. در این شرکت، مسئولیت طراحی و تولید ژنراتورهای سرعت بالا برای روشنایی کشتیها را بر عهده گرفت. این مسئولیت، تجربه ارزشمندی در زمینه ماشینآلات در اختیار پارسونز گذاشت که بعدها در طراحی توربین بخار او نقش کلیدی داشت.
در سال ۱۸۸۴، پارسونز اولین توربین بخار خود را طراحی کرد و ساخت. به جای استفاده از طراحی تکمرحلهای ضربهای، او مسیر توربین واکنشی چندمرحلهای را انتخاب کرد. پارسونز دلایل تصمیم خود را سرعتهای پایینتر، بازدهی بالاتر و جلوگیری از مشکلات فرسایش بخار بیان کرد.
به نظر میرسد که پارسونز از کارهای دو لاوال با نازلهای همگرا-واگرا یا توصیف نظری که توسط آزبورن رینولدز انجام شده بود، آگاه نبود. بنابراین، او تمرکز خود را بر توربینهای واکنشی گذاشت که بر بازارهای تولید توان و نیروی پیشرانش کشتیها متمرکز بود.
برای پرههای توربین بخار، پارسونز در ابتدا از پرههای مستقیم استفاده میکرد، اما بعدها از پرههای خمیده بهره برد. در توربینهای اولیه خود، او از پرههای بزرگتر به تدریج در هر مرحله استفاده کرد. طراحیهای بعدی او از قطر بزرگتر و توربینهای چندگانه ترکیبشده به صورت سری استفاده میکرد. اولین توربین پارسونز که در شکل 14 نشان داده شده، ده اسب بخار را با سرعت 18 هزار دور در دقیقه تولید میکرد.
شکل شماره 14
ماشینهای اولیه او از پرههای برنجی متصل به دیسکهای فولادی استفاده میکردند. پارسونز از یک بلبرینگ چندتایی با واشر خودمرکز استفاده کرد که بعدا با طراحی لوله هممحور جایگزین شد. پارسونز بطور کامل از کندانسورهای بخار استفاده کرد، زیرا مراحل فشار پایین او میتوانست انرژی را بسیار موثر با اختلاف فشار کم استخراج کند. بیش از 300 توربوژنراتور دریایی توسط پارسونز فروخته شد، قبل از اینکه در سال 1889 شریک خود، کلارک چپمن را به دلیل اختلافی که منجر به عدم اجازه به پارسونز برای بازاریابی توربین واکنشی خود شد، ترک کند.
بنابراین، پس از تاسیس شرکت جدید، او روی یک توربین شعاعی جریان ترکیبی کار کرد که آن را ثبت اختراع نمود. پس از مشکلات زیاد، پارسونز در نهایت توانست صنعت نیرو را متقاعد کند که به طرحهای توربوژنراتور توربین بخار او اعتماد کند و به زودی توربینهای او شروع به جایگزینی موتورهای پیستونی در ایستگاههای مرکزی کردند.
در سال 1893، او اختراعات اولیه خود را دوباره خریداری کرد و طرح واکنشی محوری چندمرحلهای خود را مجددا ارائه داد. خیلی زود طراحیهای چندمرحلهای او 25 هزار کیلووات تولید میکرد و به استاندارد ایستگاههای مرکزی در سراسر جهان تبدیل شد. تا سال 1923، پارسونز یک سامانه تا 50 هزار کیلووات نصب کرده بود. یک توربین چندمرحلهای 600 اسب بخاری پارسونز در شکل 15 و یک توربوآلترناتور پارسونز در شکل 16 نشان داده شدهاست.
شکل شماره 15
شکل شماره 16
مشارکت پارسونز در سامانه پیشرانش دریایی
سر چارلز پارسونز صنعت پیشرانش دریایی را متحول کرد و توربین بخار را به استاندارد جهانی تبدیل نمود. در سال ۱۸۹۳، او کار بر روی یک کشتی نمایشی کوچک با نیروی محرکه توربینی به نام توربینیا را آغاز کرد. این کشتی کوچک که طول آن حدود ۳۰ متر بود، حدود ۴۴ تن ظرفیت جابجایی داشت و به یک موتور توربین شعاعی خروجی مجهز بود که یک ملخ را به حرکت درمیآورد. پس از خرید امتیاز اختراعات مربوط به توربین جریان محوری، پارسونز موتور کشتی را با یک طراحی سهمرحلهای توربین جریان محوری دوباره تجهیز کرد. این موتور توان خروجی ۲۳۰۰ اسب بخار را تولید میکرد و به توربینیا امکان میداد به سرعت ۳۴ گره دریایی دست یابد.
به دلیل مخالفت نیروی دریایی سلطنتی بریتانیا که نسبت به ایدههای جدید، دیدگاه بسیار محافظهکارانهای داشت، پارسونز دست به یک نمایش جسورانه زد. در سال ۱۸۹۷، همزمان با شصتمین سالگرد آغاز سلطنت ملکه ویکتوریا، نیروی دریایی سلطنتی یک نمایش بزرگ از کشتیهای جنگی بریتانیا و دیگر کشورها را در اسپیتهد برگزار کرد.
پارسونز با کشتی توربینیا به طور ناگهانی وارد این مراسم شد و کشتی خود را با سرعتی بیش از ۳۰ گره دریایی در میان صفوف کشتیهای عظیم به حرکت درآورد. یک عکس از کشتی توربینیا در شکل 17 نشان داده شدهاست. این نمایش شگفتانگیز و جسورانه، نیروی دریایی سلطنتی را تحت تاثیر قرار داد و آنها را بر آن داشت تا یک قرارداد برای ساخت یک ناوشکن مجهز به توربین، به نام وایپر صادر کنند. پس از ساخت آن، پارسونز یک سری توربینهای بزرگتر ساخت.
شکل شماره 17
توسعه توربین بخار توسط آگوست راتو
آگوست راتو در سال ۱۸۶۳ در فرانسه متولد شد و در سال ۱۸۸۳ از مدرسه پلیتکنیک پاریس فارغالتحصیل شد. راتو در سال ۱۸۹۴ کارهای آزمایشی خود را بر روی توربین بخار آغاز کرد و تلاش کرد تا توربین دو لاوال را با استفاده از تیغههای پلتون اصلاح کند که این آزمایش موفقیتآمیز نبود. در سال ۱۹۰۰، راتو یک توربین ضربهای چندمرحلهای فشار طراحی کرد که امروز به نام او شناخته میشود.
در سال ۱۹۰۳، او شرکت خود را تاسیس کرد. راتو با انتشار کتاب به نام “رسالهای درباره توربوماشینها”، بهعنوان یکی از مراجع برجسته در زمینه طراحی توربینهای بخار و گاز شناخته شد. راتو همچنین پیشگام در توسعه سوپرشارژرهای توربینی و کمپرسورهای هوا بود. شکل 18 یک برش مقطعی از توربین راتو و شکل 19 یک عکس از توربین بخار ۶۰ اسب بخاری راتو با سرعت شش هزار دور در دقیقه را نشان میدهد.
شکل شماره 18
شکل شماره 19
توسعه توربین بخار توسط چارلز کورتیس
چارلز کورتیس در سال ۱۸۶۰ در بوستون متولد شد و در سال ۱۸۸۱ مدرک مهندسی عمران خود را از دانشگاه کلمبیا دریافت کرد. در سال ۱۸۸۶، او به همراه دو شریک خود، شرکتی برای تولید موتورها و فنهای الکتریکی تاسیس کرد. در سال ۱۸۸۸، کورتیس این شراکت را ترک کرد و شرکت خود را با نام شرکت تولیدکننده کورتیس الکتریک تاسیس کرد. کورتیس در سال ۱۸۹۶ توربین چندمرحلهای سرعتی خود را توسعه داد و در سال ۱۹۰۱ حقوق این طراحی را به شرکت جنرال الکتریک فروخت. شرکت جنرال اکتریک این طراحی را اصلاح کرد و توربین کورتیس توانست با طراحیهای پارسونز برای کاربردهای ایستگاههای مرکزی تولید برق و صنایع دریایی رقابت کند.
قراردادهای صدور مجوز برای توربینهای بخار
تا سال ۱۹۲۰، تقریبا هر تولیدکننده بزرگ قراردادی برای صدور مجوز تولید توربینهای بخار امضا کرده بود.
– شرکت وستینگهاوس در آمریکا، در سال ۱۸۹۵ توافقنامهای با پارسونز برای صدور مجوز تولید توربینهای بخار به امضا رساند.
– شرکت آلیس چالمرز، پس از بررسی چندین طراحی داخلی، در سال ۱۹۰۵ مجوز استفاده از طراحی پارسونز را دریافت کرد.
– شرکت اشر وایس طراحی مهندس ارشد خود را که شباهت زیادی به طراحی راتو داشت، به اجرا گذاشت. مجوز توربین این شرکت همچنین به شرکتهای Krupps و MAN داده شد.
– شرکت اورلیکن سوئیس مجوز طراحی راتو را به دست آورد.
– کارخانه اسکودا در چک، طراحی توربین خود را بر اساس طراحی راتو توسعه داد.
– شرکت براون بووری که در سال ۱۸۹۲ تاسیس شد، توسعه توربین مبتنی بر طراحی پارسونز را آغاز کرد.
– شرکت تیسن آلمان، توربینی تولید کرد که شامل ویژگیهای طراحی پارسونز و کورتیس بود.
– شرکت فریزر و چالمرز وابسته به جنرال الکتریک در آمریکا، ماشینی بر اساس طراحی کورتیس تولید کرد.
– شرکت وستینگهاوس ابتدا توربینهای پارسونز تولید میکرد، اما پس از تغییر نام به شرکت متروپولین ویکرز، به طراحی راتو روی آورد.
– شرکت انگلیش الکتریک، طراحی ترکیبی راتو و کوریتس را تولید کرد.
– شرکت تامپسون-هوستون توربینهای کورتیس را تولید کرد.
تکامل مستمر توربینهای بخار
در قرن بیستم پس از معرفی توربین بخار، فشارها و دماهای بخار ورودی بطور قابلتوجهی افزایش یافتند. از سال 1900 تا 1950، فشار و دمای بخار ورودی به ترتیب بطور متوسط سالانه 43 پاوند بر اینچ مربع و 13 فارنهایت افزایش یافتند. در دهه 1930، دماها و فشارهای بالاتر، استفاده از ماشینهای با سرعت 3600 دور بر دقیقه را جذابتر کرد.
تعدادی اصلاحات در سیکل پایه توربین بخار رانکین انجام شد. در سال 1876، ویِر چرخه گرمایش تغذیهای مجدد را ثبت اختراع کرد که در آن بخشی از بخار برای گرمکردن خارجی آب تا نقطه جوش قبل از ورود به بویلر استفاده میشد. چرخه بازگرمایش نیز مزایای بیشتری در بهرهوری ایجاد کرد. سازگاری گسترده بازگرمایش در اوایل دهه 1950، باعث افزایش سریع فشار دریچهای از 1450 به 2400 پیاسآی شد.
دماهای دریچه و بازگرمایش به ترتیب 1000 یا 1050 فارنهایت بودند. واحدهای بازگرمایش با کاربری دوگانه که بعدا معرفی شدند، بهرهوری بیشتری ایجاد کردند. بیشتر این واحدهای بازگرمایش دوگانه دارای شرایط بخار دریچهای 3500 پیاسآی و 1000 فارنهایت بودند. واحد ادی استون1متعلق به شرکت برق فیلادلفیا، با شرایط فوق بحرانی 1200 درجه فارنهایت عمل میکرد. توربین بخار هیچ مشکلی را تجربه نکرد، اما به دلیل مشکلات در بویلر و واحد فوق اشباع، شرایط به 1130 درجه فارنهایت کاهش یافت.
توسعه کمپرسورها
توربوکمپرسورها همزمان با توربینهای بخار تکامل یافتند و بسیاری از شرکتهای مشهور مرتبط با فناوری توربین بخار نیز بر روی دمندهها و کمپرسورها کار کردند.
دمنده جابجایی مثبت چرخشی روتس (Roots Blower)
کمپرسورهای جابجایی چرخشی در اواخر قرن نوزدهم بهطور گستردهای مورد استفاده قرار میگرفتند و مشهورترین آنها دمنده روتس بود. در اواسط قرن نوزدهم، برادران روتس از شهر کانرزویل ایالت ایندیانا صاحب یک کارخانه نساجی بودند و برای به حرکت درآوردن محور اصلی به یک توربین آبی نیاز داشتند که نیروی آن از افت ارتفاع آب در یک کانال تامین شود.
از آنجا که در آن زمان توربین آبی مناسبی در دسترس نبود، آنها یک دستگاه با دو پروانه طراحی و با بدنهای از ورق فلزی و پروانههای چوبی ساختند. زمانی که این دستگاه بهعنوان توربین آبی مورد آزمایش قرار گرفت، متورمشدن چوب باعث گیرکردن آن شد. پس از تراشیدن قابلتوجه چرخهای چوبی، دستگاه برای آزمایش به محور اصلی متصل شد.
یک ریختهگر محلی که کنجکاو درباره این دستگاه جدید بود، از بالا داخل آن را نگاه کرد و کلاه او از شدت جریان هوا به پرواز درآمد. در این لحظه اعلام کرد که این دستگاه بیشتر به کار دمنده میخورد تا توربین. گفته میشود این اتفاق منشا اختراع دمنده روتس در سال ۱۸۵۹ بود. نمونهای اولیه از دمنده روتس که برای تهویه معادن استفاده میشد، در شکل 20 نشان داده شدهاست.
شکل شماره 20
برادران روتس مهندسان عملگرا و باهوشی بودند، اما از جدیدترین پیشرفتهایی که در اروپا در حال وقوع بود، آگاهی نداشتند. دمنده روتس به بهترین دستگاه موجود برای عملکرد در فشارهای پایین تبدیل شد و به راندمانی بین ۳۵ تا ۴۰ درصد دست یافت. با این حال، در ابتدا با مشکلاتی مانند روانکاری، آببندی و تغییر شکل حرارتی مواجه بود. شکل 21 نمونهای از یک دمنده دستی اولیه روتس را نشان میدهد.
شکل شماره 21
توربوکمپرسورهای گریز از مرکز
اختراع پروانه گریز از مرکز به دنیس پاپن در سال ۱۶۸۹ تعلق دارد. ارائه کلاسیک اویلر در سال ۱۷۵۴ درباره کاربرد نظری ایدهآل قانون نیوتن در پروانههای گریز از مرکز (که امروزه به عنوان معادله اویلر شناخته میشود)، در ابتدا کمک شایانی به توسعه ماشینهای هیدرولیکی کرد، اما در آن زمان تاثیر مستقیمی بر توسعه کمپرسورهای گریز از مرکز نداشت. بیشتر طراحیهای اولیه کمپرسور گریز از مرکز فاقد دیفیوزر بودند و عمدتا در کاربردهایی با ارتفاع و نسبت فشار پایین استفاده میشدند و بازدهی آنها در محدودهی ۴۵ تا ۶۵ درصد قرار داشت. این کمپرسورها معمولا با موتورهای بخار به حرکت درمیآمدند. در سال ۱۸۷۵، رینولدز دیفیوزر پرهدار را به ثبت رساند.
راتو در فرانسه یکی از مشارکتکنندگان اصلی در طراحی دمندهها و کمپرسورهای گریز از مرکز بود. او نهتنها در توسعه خود کمپرسور نقش داشت، بلکه در زمینه نظریه توربوکمپرسورها نیز مقالاتی منتشر کرد و روشهای آزمایش و ارزیابی را نیز توسعه داد. راتو تولید این واحدها را در فرانسه آغاز کرد و با اعطای مجوز تولید، ساخت آنها را در سایر کشورها نیز ممکن ساخت.
بر اساس تجربه و تخصص خود در زمینه فنهای محوری و پمپهای آبی توربینی، راتو در سال ۱۸۹۲ مقالهای مفصل دربارهی دمندههای گریز از مرکز منتشر کرد. او در سال ۱۸۹۸ کار طراحی نخستین توربوکمپرسور خود را آغاز کرد که یک واحد تکمرحلهای بود و در سال ۱۹۰۱ مورد آزمایش قرار گرفت. نتایج این آزمایش در سال ۱۹۰۲ منتشر شد.
تا سال ۱۹۰۰، راتو به این نتیجه رسید که دسترسپذیری توربینهای بخار پرسرعت، تطابق بسیار خوبی با توربوکمپرسورهای او دارد و دیگر نیازی به استفاده از چرخدندههای افزایشدهنده سرعت یا تسمه نخواهد بود. تا سال ۱۹۰۲، بیش از ۷۰۰ فن محوری طراحیشده توسط راتو در خدمات تهویه مورد استفاده قرار گرفته و ۲۰۰ دمنده گریز از مرکز نیز برای تهویه معادن بکار گرفته شده بودند. در آستانه قرن بیستم، راتو مشغول نگارش رسالهای مفصل درباره توربوماشینها بود و بهعنوان یک دانشمند-مهندس شناخته میشد که کمپرسورهای خود را بر پایه مطالعات نظری طراحی میکرد. او نخستین کسی بود که از راندمان آدیاباتیک برای سنجش بازدهی توربوکمپرسورها استفاده کرد.
در سال ۱۹۰۳، راتو چند کمپرسور تکمرحلهای طراحی کرد که در کارخانههای فولاد و شکر مورد استفاده قرار گرفتند. نخستین کمپرسور چندمرحلهای او در سال ۱۹۰۵ نصب شد. این واحد دارای پنج مرحله بود و فشاری معادل ۴ متر ستون آب با دبی حجمی برابر با ۲۵۰۰ متر مکعب بر ساعت در خروجی ایجاد میکرد. در همین سال، راتو یک کمپرسور ساخت که نسبت فشار آن به 7 میرسید و بازده کل آن کمی کمتر از ۵۰ درصد بود. این دستگاه نخستین کمپرسوری بود که از سامانه خنککاری بینمرحلهای استفاده میکرد.
در سال ۱۹۰۴، شرکت براون بووری از سوئیس، همراه با چندین تولیدکننده دیگر در اروپا، مجوز تولید کمپرسورهای راتو را دریافت کردند. در سال ۱۹۰۶، براون بووری یک کمپرسور چندپوستهای که توسط راتو طراحی شده بود، برای استفاده در توربین گاز Armengaud-Lemale تولید کرد.
کمپرسورهای جریان محوری سر چارلز پارسونز
سر چارلز پارسونز در سال ۱۸۸۴ کمپرسور جریان محوری را به ثبت رساند. در سال ۱۸۸۷، او یک کمپرسور گریز از مرکز سهمرحلهای با فشار پایین برای تهویه کشتیها طراحی و به بازار عرضه کرد. او از سال ۱۸۹۷ آزمایشهای گستردهای را روی کمپرسورهای جریان محوری آغاز کرد و دو سال بعد، یک واحد ۸۰ مرحلهای ساخت که به بازده آدیاباتیک ۷۰ درصد دست یافت.
در طراحیهای اولیه، پرههای هدایتکننده استاتور در یک سمت صاف و در سمت دیگر خمیده بودند و مسیر باز شونده بین این پرهها انرژی جنبشی هوا را به فشار تبدیل میکرد. تا اواسط سال ۱۹۰۷، پارسونز ۴۱ کمپرسور جریان محوری ساخته بود. اما به دلیل ضعف آیرودینامیکی، این طرحها توان رقابت با طراحیهای گریز از مرکز را نداشتند و در نتیجه، پارسونز در سال ۱۹۰۸ تولید آنها را متوقف کرد.
مشکل اصلی، کمبود دانش آیرودینامیکی در آن زمان بود، زیرا در طراحی کمپرسورهای محوری، از پرههایی استفاده میشد که برای توربینها مناسب بودند، نه برای کمپرسورها. چالشهای مربوط به کاهش سرعت جریان و حفظ پایداری جریان در اینجا خود را نشان داد و تا دههی ۱۹۵۰، از مشکلات اصلی کمپرسورهای جریان محوری باقی ماند. شکل 22 یک نمونه از طراحی کمپرسور جریان محوری پارسونز و شکل 23 چیدمان پرهها در دمندهی پارسونز را نمایش میدهد.
شکل شماره 22
شکل شماره 23
منبع:
Proceeding of the 29th Turbomachinary symposium























